Invented by HANNÁK; Gábor, SEIDEL; Eiko, ALLWANG; Christiane Maria

Wireless networks are changing fast. Today, base stations can point their signals in special ways to help users get better service. But when these “beam settings” change often, it can confuse the systems that watch and improve the network. In this article, we will break down a new patent application that helps networks keep track of these changes, making data more useful and the network more reliable.
Background and Market Context
To understand why this invention is important, let’s talk about how wireless networks work today. A base station is like a cell tower. It sends out signals so your phone can connect to the internet, make calls, or send texts. In the past, these towers sent signals in all directions. But now, with new technology, they can “focus” their signal in certain directions. This is called “beamforming.”
With beamforming, the tower can point its signal toward areas where people need more data. Imagine a busy train station in the morning. The base station can point its beams toward the platforms to give better service to the crowd. Later in the day, it might point the beams somewhere else, like a school or a stadium. This makes the network smarter and helps users get faster and more reliable connections.
But there’s a problem. All the systems that measure how well the network is working, and all the systems that try to improve the network, often think the base station is using the same beam settings all the time. When the base station changes how it points its beams, the data these systems use can become mixed up. If the network thinks things stayed the same, but they really changed, it might make the wrong decisions. This could mean people get worse service, or the network wastes energy.

Mobile networks are now starting to change their beam settings much more often. Instead of doing it once in a while, they might do it many times a day or even every few minutes. This is especially true in busy cities, where the number of people and the places they need service can change quickly. The network needs a way to keep track of which beam settings were used and when. This helps make sure the data is correct, and that any changes to the network are based on good information.
The market is also moving toward more automation. In the past, people would have to drive around and measure the network by hand, then make changes every few months. Now, with “self-optimizing networks,” the system tries to learn and fix itself. But this only works if the data is clear and correct. As beam settings become more dynamic, having the right tools to track and use this information becomes essential for mobile operators. This is why the invention in the patent is so important right now.
Scientific Rationale and Prior Art
Beamforming uses special antennas called “massive MIMO” arrays. These antennas can shape and steer radio waves by changing the timing and strength of the signal sent from each antenna. There are several ways to do this, like using a grid of pre-set beams, making custom beams for each user, or using math tricks to send signals in just the right direction.
One common method is the “Grid-of-Beams” (GoB) approach. In this method, the base station has a set of beams stored in memory. Each beam points in a different direction. The base station can pick which beams to use based on where people are. Other methods, like “Zero Forcing” or “Eigen-based” beamforming, use more complex calculations to create beams that avoid interference or maximize signal strength.
In the past, these beam settings were chosen when the base station was set up, and they stayed the same. If there was a need to change the beams, it often meant restarting the base station, which could disrupt service. Because the beam settings didn’t change very often, network monitoring systems could safely assume that the data collected over time represented the same beam pattern.

Standards from groups like 3GPP and O-RAN define how networks should report things like signal strength, handover success, and other key performance indicators (KPIs). These reports are used for many tasks, such as deciding when to hand a user off from one cell to another, or how to adjust the network for better coverage. Traditionally, these standards assume the cell’s radio setup stays the same for weeks or months.
But as mobile data demands have grown, so has the need for flexibility. Networks want to change beam patterns more often to respond to real-world conditions. This creates a problem. If a report covers a time when the beam setting changed, it mixes together data from two (or more) different network configurations. This makes the data less useful, and can even cause the network to make bad decisions. For example, if a base station switches its beams during a report window, the system can’t tell which beam setting caused a problem or improvement.
Some older solutions tried to work around this by keeping the beam settings the same for long periods, or by analyzing data over very long time frames. But this made it hard to respond quickly to problems or to take full advantage of new, flexible beamforming hardware. Other approaches suggested doing more analysis right at the base station. But this was limited by the base station’s computing power, and it made it harder to coordinate changes across different cells.
As a result, there was a clear need for a better way to track which beam settings were used, when they were used, and to link this information to the data collected by the network. This would allow analytics and optimization tools to separate data by beam setting, leading to smarter decisions and more stable networks. The new patent takes aim at this challenge.
Invention Description and Key Innovations

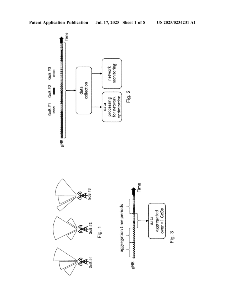
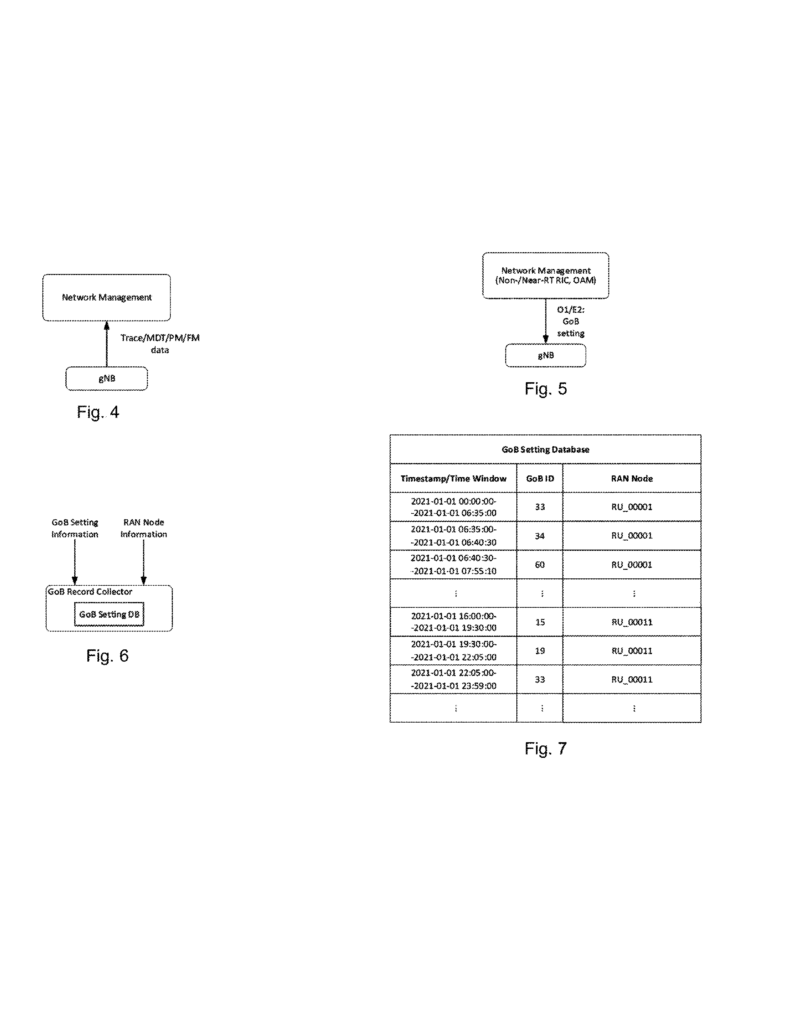
The new invention is all about keeping track of which beam settings a base station uses at different times. It does this by creating a special database, called the GoB Setting Database (GSDB), that records every change in beam setting along with the time it happened. This database can cover one base station or many, and it can even record which type of hardware was used.
Here’s how it works in simple terms: every time a base station changes its beam setting, this information is reported and saved with a timestamp. If the base station keeps the same beam setting for a while, the database records the start and end times for that setting. This way, at any moment, it’s possible to look back and see exactly which beams were used.
When an analytics tool or network function wants to understand what happened in the network, it can send a question to the database. For example, it might ask, “What beam setting was used at this time on this base station?” The database looks up the answer and sends it back. If the question covers a longer period when the beam setting changed, the database can say, “For the first 5 minutes, beam setting A was used; for the next 10 minutes, beam setting B was used.”
This helps solve the problem of mixed-up data. Now, when the network analyzes things like handover failures or signal drops, it can match each piece of data to the correct beam setting. If a report covers a time when the beams changed, the system can either divide the data or give it less weight. This makes the analytics much more reliable.
Another important part of the invention is that it keeps track of which base station used which beam setting. This is helpful because the same beam setting might have different effects on different hardware, or in different locations. The database stores a unique ID for each beam setting and links it to the base station and the time. This makes it easy to compare and analyze data across the whole network.
The system works with all kinds of network functions. For example, in Mobility Robustness Optimization (MRO), the network tries to set up handover rules that keep users connected as they move between cells. With dynamic beam settings, the best rules can change from one beam pattern to another. Using this invention, the network can find the best handover settings for each beam configuration, making the whole system more stable and efficient.
The invention also fits neatly into modern network management systems, like the O-RAN architecture. It uses special apps (called xApps and rApps) that can talk to each other and share information about beam settings, analytics, and network changes. The design makes it easy to scale up, so it can work in small or large networks.
By making sure every piece of data is linked to the right beam setting, the invention allows for smarter automation. Network optimization, load balancing, and even AI-driven features can now work with clear, correct data. This means better service for users, less wasted energy, and networks that can adapt quickly to changing conditions.
Finally, the invention is flexible. It can be used in 4G, 5G, 6G, and even newer types of networks. It doesn’t matter if the base station is made up of separate parts or combined into one unit. It works with different kinds of beamforming, not just the grid-of-beams method. This makes it a future-proof solution for the fast-changing world of wireless networking.
Conclusion
Mobile networks are moving toward more flexible, dynamic ways of serving users. Changing beam settings on the fly helps deliver faster and more reliable service, but it also creates new challenges for network monitoring and optimization. The patent we explored today offers a clear, simple way to track every change in beam setting, link it to the right data, and give analytics tools the power to make smart decisions. By tying together the “what,” “when,” and “where” of beam configurations, this invention helps networks stay reliable, efficient, and ready for the future. For network operators, it means better control. For users, it means better connections.
Click here https://ppubs.uspto.gov/pubwebapp/ and search 20250234231.