Invented by Strobl; Matthias, Plechinger; Ekkehard, Reisinger; Jürgen, Amann; Martin

The way we handle old electrical devices is changing. A new patent application shows how simple markings, like QR codes, can make taking apart electronic gadgets easier and safer. This article explains the background, the science behind it, and what makes this invention so special.
Background and Market Context
Every day, millions of electrical devices reach the end of their lives. These range from small home gadgets to big machines in factories. Most of these devices end up as waste. Many are shredded, burned, or left in landfills. This is a big problem for our planet and our health.
Right now, the most common way to deal with old electronics is to shred them into tiny pieces. These pieces are then sorted to pull out useful materials like copper, aluminum, or plastic. But this shredding process is not perfect. It’s hard to separate all the different parts. Some valuable pieces, like strong magnets or special metals, get destroyed. Sometimes, harmful chemicals leak out during shredding, making the waste dangerous.
In many places around the world, especially in developing countries, old electronics are burned or soaked in acid to get out the metal. This creates pollution and puts workers at risk. Burning electronics can release toxic smoke, and acids can harm both people and the environment. In richer countries, the rules for recycling are getting stricter, but better solutions are needed.

Manufacturers are under pressure to make products that are easier to recycle. They want to increase the amount of material that can be reused and reduce waste. But most product designers focus on making gadgets that work well and cost less, not on how easy they are to take apart. This means that, when these devices are old, breaking them down into useful parts is hard, slow, and expensive.
To fix this, experts say we need to design devices with recycling in mind. This means planning from the start how each part can be taken apart and reused. But this new way of designing products, called “design for disassembly,” is still not common. There is a big need for new tools and methods that make disassembly simple and cheaper.
This patent application introduces a new way to help. It suggests putting markings, like QR codes, on the outside of devices. These markings hold all the instructions needed to take the device apart safely and efficiently. The markings can even be read by machines, making it possible to automate the disassembly process. This could make recycling much easier and safer, and help keep valuable materials out of landfills.
Scientific Rationale and Prior Art
Let’s look at why this idea works, and what has been tried before. Traditional recycling methods have big limits. When devices are shredded, it is nearly impossible to get pure materials back out. Sorting shredded pieces is hard. Methods like magnetic or eddy current separation can help, but only after the device has already been broken up and mixed together.
Some recycling centers use machines that can sort metals, plastics, and other materials, but these processes are complex and expensive. Manual sorting is even slower and needs skilled workers, who must know how every device is built. This is not practical for most recycling centers.

Some companies have tried to label their products with symbols or codes to help with recycling. But these labels are usually simple, like a recycling logo or a material code. They don’t give step-by-step instructions, and they can’t be read by machines to guide automated tools. Other ideas, like using RFID tags or barcodes, have been used to track products, but not to help take them apart.
There have also been attempts to create smart recycling systems, where a database holds information about how to disassemble products. But these systems often depend on the operator’s skill to look up the right instructions and use the right tools. It still takes time and human effort, and mistakes can happen.
The key problem is that devices are not made with disassembly in mind. Screws, clips, and glue can be hard to find or remove. Without a clear guide, even trained workers struggle to take devices apart without breaking them or mixing up materials. This is why so much valuable material is lost, and why recycling old electronics is expensive and sometimes dangerous.
The invention described in this patent uses markings on the device’s housing to solve these problems. By placing a QR code or a wireless marker on the outside, every device can carry its own “user manual” for recycling. This code can be scanned by a human or a machine. It links to a database with full instructions and material lists. The system does not need special knowledge or training to use. Even machines, like CNC milling centers, can read the code and follow the steps to take apart the device safely.
This approach is different from anything used before. It brings together simple markings, a shared database, and automated machines to make disassembly fast, safe, and cheap. It also allows for tracking and licensing, so that manufacturers can keep control over how their products are taken apart. This could even create new business models, where companies earn money from recycling licenses.
Invention Description and Key Innovations

Now, let’s dig into how this invention actually works and what makes it special. At its core, the idea is simple: put a marking on every electrical device that tells you how to take it apart. But the details are what make it powerful.
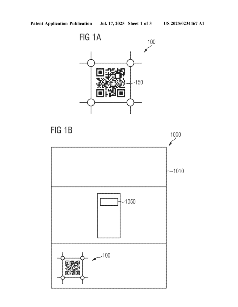
Each device gets a marking on its case. This marking could be a QR code, which is a type of square barcode that’s easy for cameras to read. Or it could be a wireless marker, like an NFC tag or Bluetooth signal. The marking is not just a label – it holds or links to all the important information needed for disassembly.
When it’s time to recycle the device, the process starts by scanning the marking. This could be done by a worker with a handheld scanner, or by a camera in a recycling machine. The scan gives you instant access to instructions for taking the device apart. These instructions are stored in a database, which can be updated as new devices come out.
The instructions include step-by-step guides on how to open the case, remove the components, and separate materials. They also tell you what each part is made of, so you know how to sort it for recycling. Some devices can only be disassembled if you have a license from the manufacturer – the marking can check this too and manage payments if needed.
One clever feature is that the marking can show the exact spot on the case where you should start. For example, the QR code could have a red cross that marks the “zero point.” This tells a worker or a machine exactly where to begin. If the device is being taken apart by a robot, this zero point helps the machine line up its tools perfectly.
The real magic happens when the process is automated. Imagine a CNC milling center – a type of robot that can cut and move in many directions. The machine scans the code, downloads the guide, and picks the right tools. It follows the instructions to open the case, take out the parts, and sort everything into the right bins. The whole process can be tracked and managed online, with records kept for each device.
If the device is not found in the database, the system can use smart software, even artificial intelligence, to figure out what it is. It can guess which tools to use, or ask a human for help. Once the process is figured out, it gets saved in the database for next time.
This invention is flexible. It works for any device, from any maker. It can be used in big recycling centers or small local shops. It doesn’t need new machines – just an upgrade to existing CNC centers or other robots. And because the information is stored in the cloud, it’s always up to date.
The benefits are huge. It makes recycling easier, faster, and safer. It stops valuable materials from being lost or mixed up. It keeps workers safe from toxic chemicals. It gives manufacturers a new way to track and control how their products are recycled. And it helps the planet by cutting down on waste and pollution.
With this invention, every device can carry its own “disassembly passport.” Recycling becomes smarter, cleaner, and more profitable. The future of electronics recycling could be as easy as scanning a code.
Conclusion
This patent application points to a better way of recycling old electrical devices. By using simple markings like QR codes and linking them to smart databases and automated machines, we can take apart devices safely and efficiently. This helps recover more valuable materials, keeps people safe, and protects the environment. The invention brings together the best of technology and simple ideas to solve a big problem. If adopted widely, it could change the way we recycle electronics forever.
Click here https://ppubs.uspto.gov/pubwebapp/ and search 20250234467.