Invented by HUANG; Ningjing

Live migration of virtual machines is a big deal in modern cloud networks. But even today, moving a running virtual machine from one computer to another can cause dropped messages and service hiccups. A new patent application proposes a clever way to fix this, using a smart delay for network configuration changes. Let’s break down this solution so you can see why it matters, how it works, and what makes it new.
Background and Market Context
Today, almost every data center and cloud provider relies on virtual machines (VMs). Virtual machines let companies run many apps on the same hardware. When things get busy, or when servers need repairs, VMs can be moved—or “live migrated”—from one machine to another without turning them off. This is called live migration. It keeps user services going without a hitch, at least in theory.
But in reality, live migration is tricky. When a VM moves, its network address and location change. Other computers in the network need to know where the VM now lives so they can keep sending messages to the right place. If they don’t get this update fast enough, messages can go missing. For companies running big websites, online shops, or cloud apps, even a short blip can mean unhappy customers or lost money.
The bigger the network, the harder it gets. In a small setup with a handful of servers, it’s easy to update everyone. In a giant cloud with thousands of servers, updates take longer to spread. If a server tries to talk to a VM that’s just moved, it might send its message to the old location. If the old server has already deleted the VM’s network info, the message is dropped. That’s where problems start.
Current solutions try to fix this by making servers refresh their address books more often. But this uses up computer resources and can slow things down even more. Others simply wait before deleting the old info, but this is done in a way that can cause confusion or even errors if the VM moves back and forth quickly. In short, today’s fixes are not perfect.

This leads to a need for a smoother way to handle network updates during live migrations. The goal is simple: keep services running with no interruptions, no matter how many times a VM moves, and without using up extra computing power.
Scientific Rationale and Prior Art
Let’s look at why the current network update methods fall short and how the new patent stands out.
When a VM moves, the network has to update its “map” so everyone knows where to find it. In Software Defined Networks (SDN), a central controller tells all the servers what the new map looks like. The SDN controller updates a gateway, and each server asks the gateway for the latest information. But the process isn’t instant. Servers check in with the gateway at different times, and there’s always a delay before the whole network is up to date. During this delay, some servers may still think the VM is in its old place.
Past solutions tried to fix this by:
- Forcing servers to refresh their maps more often. This increases network traffic and uses more CPU, which can overload big data centers.
- Deleting the VM’s old network info only after a set wait time. But if the VM moves back before the wait is over, the server might get confused and delete the new VM by mistake.
- Sending a “deletion success” message as soon as the command is sent, not when the VM is actually gone. This can make management software think the VM is gone when it isn’t, leading to failed attempts to create a new VM in the same spot.
- Relying on the data plane (the actual part of the server that sends and receives data) for these changes, which often means changing lots of code and using more resources.

None of these fixes the root problem. They either use too much power, cause errors if VMs move quickly, or are hard to manage in big networks. The scientific challenge is finding a way to let the old server handle any messages sent to the VM after migration—until the whole network is caught up—without using extra resources or creating confusion if the VM moves again.
The patent application introduces a simple, control-plane-based solution: delay deleting the old VM’s network info until all servers have updated their maps, and use a relay so the old server can forward any stray messages to the new location. This is done without touching the data plane, so it’s light on resources and easy to manage. The patent also adds logic to prevent mistakes if the VM migrates back and forth.
Invention Description and Key Innovations
This new method is all about smarter timing and coordination in the SDN controller. Here’s how it works in simple terms:
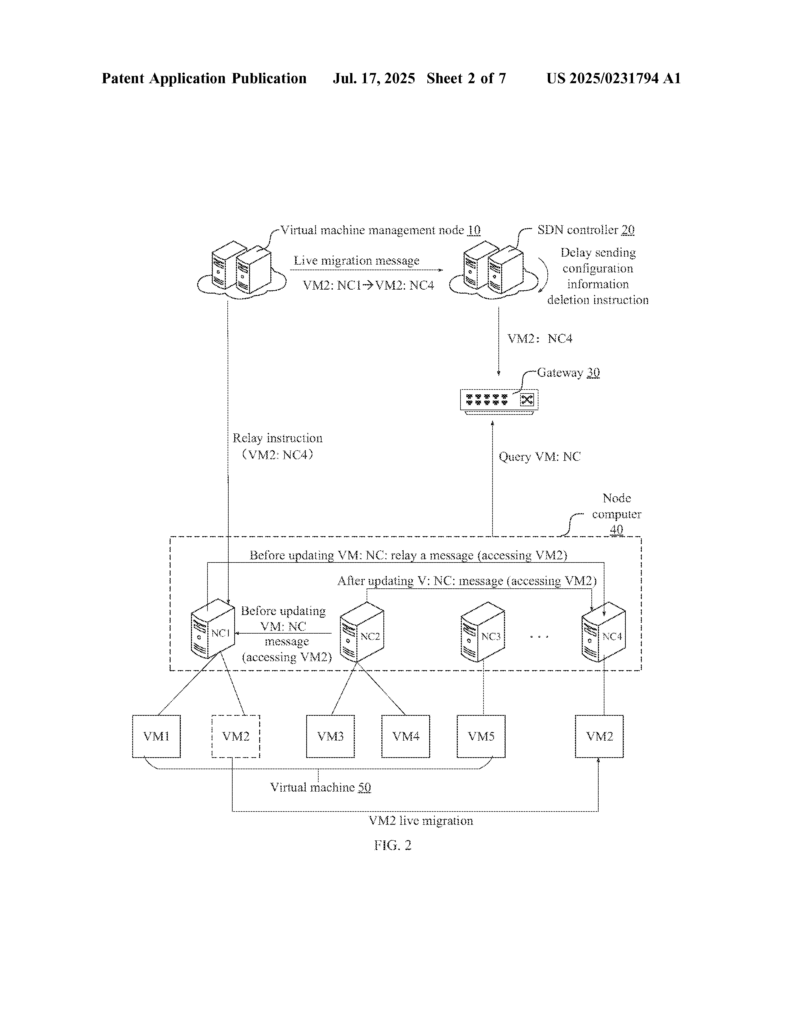
When a VM is about to move, the management node (the part of the system that controls VMs) sends a special message to the SDN controller. This message says which VM is moving, from which computer, and to which destination. The SDN controller then:
– Updates the gateway with the new “address” for the VM, so other servers can learn where the VM is now.

– Delays sending a command to the old server to delete the VM’s network settings. The delay is set to match the time it usually takes for all servers to refresh their maps from the gateway. This way, even if some servers still send messages to the old server, the VM’s network info is still there to handle those messages.
– While waiting, the old server holds onto a “relay instruction.” If it gets any messages meant for the moved VM, it forwards them to the new server where the VM now lives. This relay lasts as long as the delay, making sure no messages are lost.
– When the delay is over—and the SDN controller is sure all servers have the new info—it sends the deletion command. The old server then safely deletes the VM’s network info and stops relaying messages.
This process is all managed by the SDN controller’s control plane. The controller keeps a snapshot of the VM’s original network settings, so when it’s time to delete, it knows exactly what to remove—no matter what changes have happened since the migration. This prevents errors if the VM’s settings were updated after moving.
But what if the VM moves again before the delay is over? For example, suppose the VM quickly returns to its original server. The SDN controller checks its list of pending deletion tasks. If it finds a task that would delete the VM on the server where it’s just been re-created, it cancels that task or executes it right away (if it’s for the old network info), making sure it never deletes a VM that’s just been moved back. This logic prevents the “wrong VM deleted” problem that old methods couldn’t solve.
The invention also keeps the user experience smooth. Even though the old server is still relaying messages for a short time, users never notice the delay, because the management software reports the migration as finished right away. The actual “cleanup” is invisible to users and happens behind the scenes. This means faster migrations and fewer surprises.
Key innovations include:
- Using the control plane (not the data plane) to manage all timing and relay logic. This keeps the system light and avoids extra CPU use.
- Dynamic delay calculation. The wait time before deleting is set based on real-world network refresh times, not just a fixed timer.
- Snapshotting the VM’s network info at migration time. This ensures the right settings are deleted later, even if the VM’s details change.
- Built-in logic to handle quick back-and-forth migrations, preventing accidental deletions.
- Relay instructions that let the old server forward stray messages to the VM’s new home, so nothing gets dropped.
Technically, the SDN controller talks to the gateway and node computers using secure messages, and it manages its own database of network configurations. The relay only stays in place as long as needed, and the deletion only happens when it’s safe. This method fits easily into modern cloud data centers and can scale to thousands of servers without causing slowdowns or confusion.
Conclusion
This patent application offers a new way to handle live migration of virtual machines in big networks. By carefully controlling when to delete old network settings and by using relay instructions, it makes sure that messages never get dropped during a migration—even if the network is slow to catch up or if the VM moves back and forth. All this happens in the control plane, so it’s fast, resource-friendly, and easy to manage.
For cloud providers, data centers, and anyone running lots of VMs, this means smoother migrations, fewer outages, and happier users. No more lost messages. No more accidental VM deletions. Just seamless, invisible movement of virtual machines, with the network always keeping up. As networks grow and demands rise, solutions like this will be key to keeping the cloud running smoothly.
Click here https://ppubs.uspto.gov/pubwebapp/ and search 20250231794.