Invented by Hartmann; Florian

Today, we explore a new approach to making online search both faster and more private. This article will break down a recent patent application that introduces “private pre-fetching of search results.” We will look at why this is needed, what challenges it solves, and how it works. By the end, you’ll understand the market context, the science and prior art behind the invention, and the unique ideas that make this technology special.
Background and Market Context
Let’s start with a simple truth: people want search results quickly. If a search engine feels slow, users may get frustrated, leave, or not find what they need. Search engines compete to provide answers in less than a second. But, even a small delay can make a big difference.
Why do delays happen? Sometimes, the search server has to look through a huge amount of data. Sometimes, the internet connection is slow. And sometimes, your own device is not fast enough. No matter the reason, these delays can make users unhappy. They might abandon their search or even switch to a competitor.
So, search engines are always looking for ways to be faster. One common trick is “pre-fetching.” This means starting to collect search results before the user has finished making a request. For example, when you start typing in the search box, the engine might guess what you want and start finding results right away, so they are ready when you hit enter.
But there’s a big problem with pre-fetching: privacy. If a search engine starts searching as soon as you highlight or select text, your private information might get sent to the server before you even decide to search. This can lead to unwanted data collection, tracking, or even accidental sharing of sensitive information.
This is a growing concern. People care more and more about their privacy online. Companies have to follow new privacy laws. Users want to know that their data is safe and not being shared without permission.

The solution? A way to pre-fetch search results, making them available instantly, while keeping your private data safe. That’s what this patent application is all about.
Scientific Rationale and Prior Art
To understand the new invention, we need to see what has been done before, and why it wasn’t enough.
Old search engines waited until you typed your search and hit enter. No pre-fetching, so results took longer to arrive. Later, search engines started using tricks to guess what you would type or search for, and they would start fetching results before you finished. This helped a lot with speed.
For example, if you started typing “weather in Ne—” the engine might already fetch results for “weather in New York.” By the time you finished, the results were ready. This is called “predictive search” or “instant search.”
But this approach has limits. It relies on guessing. If the guess is wrong, the results are wasted. Also, the server sees everything you type, even if you don’t mean to search for it. This can expose personal or private data.
Another trick is “client-side pre-fetching.” In this method, your device tries to predict what you might search for and fetches the results in the background, before you even ask. Sometimes, it looks at what you select or highlight in an email, document, or web page. If you highlight “best pizza near me,” it might start fetching results right away, before you paste it into a search bar.

Some systems have tried encrypting data before sending it to a server. One popular technique is called “homomorphic encryption.” This method lets servers work with encrypted data, meaning the server never sees the real search terms. It just works with scrambled data, and only your device can unscramble the results. This boosts privacy, but it can be slow and use a lot of computing power.
Another idea is to use a “secure enclave.” This is a special part of a computer or server designed to handle sensitive data. It keeps encrypted data separate from the rest of the system, reducing the chance of leaks. But secure enclaves are not always available, and they can also slow things down.
So, the challenge has been: how do you get the speed of pre-fetching, the accuracy of knowing what the user wants to search for, and the privacy of never sending unprotected data to the server? How do you balance all these needs without making the system too slow or hard to use?
This is where the new patent comes in. It combines these ideas in a smart way, creating a process that is fast, private, and doesn’t waste resources.
Invention Description and Key Innovations
Now, let’s look at what this invention actually does, and why it is different from what came before.
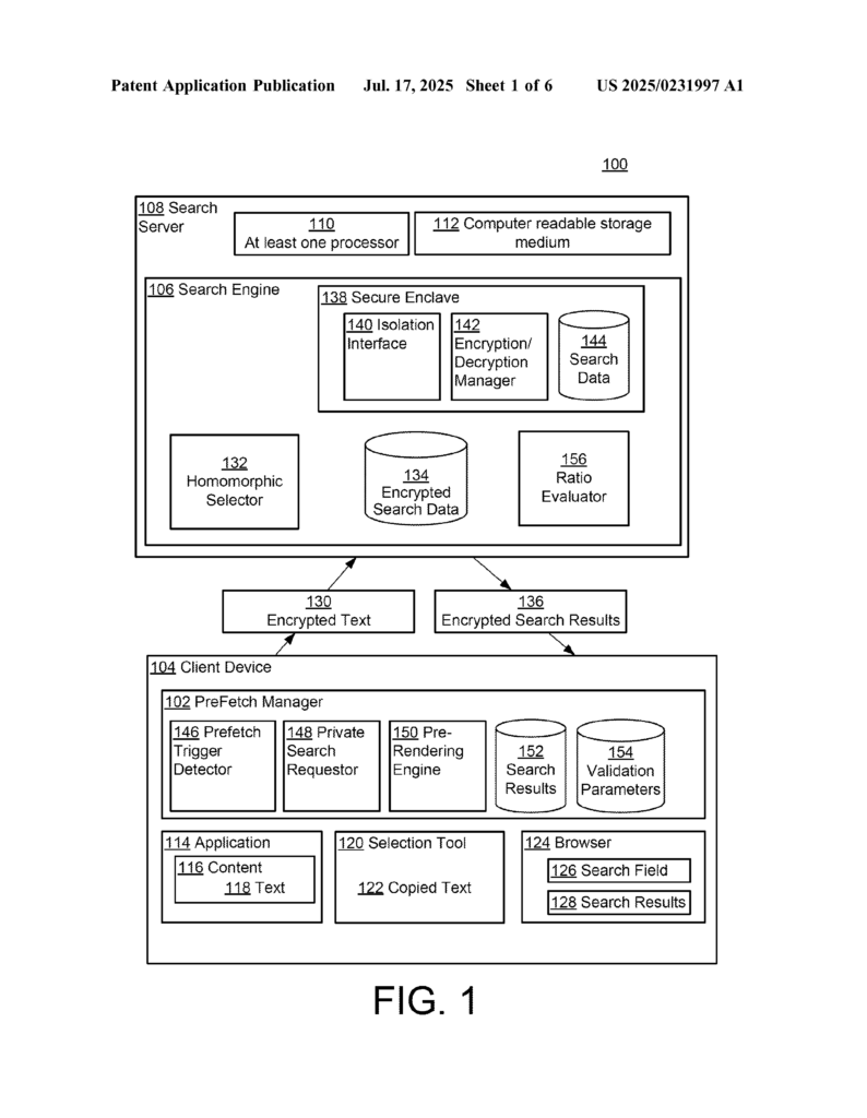
The main idea is simple: as soon as the system thinks you might want to search for something (for example, when you select some text), it encrypts that text on your device. It then sends the encrypted text to a search server. The server uses special methods (like homomorphic encryption or a secure enclave) to find matching search results without ever seeing the real search terms. The server sends back the search results, still encrypted. Only your device can decrypt them and show them to you—if and when you actually decide to search.
Let’s walk through how it works step by step:

Step 1: Detecting a “Prefetch Trigger”
The system watches for signs that you might want to search. This is called a “prefetch trigger.” It could be you selecting or highlighting text, loading a new document, or opening a web page. It could even be based on smart guesses—like seeing names, places, or terms that you often look up.
Step 2: Encrypting the Content
When a prefetch trigger happens, the system takes the relevant text or content portion and encrypts it right on your device. Encryption is like scrambling the data so nobody can read it without a special key. The key stays only on your device.
Step 3: Sending Encrypted Data to the Server
The encrypted text is sent to the search server. The server never sees the original text. This keeps your private information safe—even from the company running the server.
Step 4: Searching Without Decrypting
The search server uses special techniques to look for matches in its database, but only using the encrypted data. It can use homomorphic encryption (which lets it compute on scrambled data) or a secure enclave (a special protected area that can safely decrypt the data for just long enough to search and then re-encrypt the results). Either way, the server never stores or shares your private information in plain text.
Step 5: Sending Back Encrypted Results
The server sends the matching search results back to your device, still encrypted.
Step 6: Decrypting and Showing Results
Your device decrypts the search results. When you actually decide to search (for example, by pasting the text into a search bar and hitting enter), the results are ready instantly. You see them right away, with no delay.
This process combines privacy and speed. You get the benefits of pre-fetching—instant results—without giving up your personal information. The server never sees what you’re searching for in plain text. Only you have the key.
The patent also describes smart ways to decide when to prefetch and what to prefetch. For example, the system can learn which types of content you usually search for. It can keep track of which prefetches actually get used, to avoid wasting resources. It can use validation parameters and classification models to be smarter about when to prefetch, so it doesn’t overload the server or your device.
Another clever part is the ability to choose different search servers for different types of searches. For example, if you select a place name, the system might send the search to a map server. If it’s a product, it might use a shopping server. This makes the system more flexible and useful.
Finally, the system can “pre-render” results. This means it can get the search results ready to display even before you ask, so they appear instantly when you click search. This saves even more time and makes the user experience feel magical.
Conclusion
In a world where speed and privacy both matter, this patent offers a smart solution. It lets search engines provide lightning-fast results by pre-fetching, while still protecting your personal data. By encrypting your search terms before they ever leave your device, and by using advanced processing on the server that never reveals your information, the system gives you the best of both worlds.
This approach could change the way we interact with search engines, apps, and even devices. It means users no longer have to choose between privacy and convenience. Companies can offer faster, smarter, and safer services—while following privacy laws and earning user trust. As more people care about their digital privacy, inventions like this will shape the future of search and beyond.
Click here https://ppubs.uspto.gov/pubwebapp/ and search 20250231997.